南山又有现房“返场”,价格竟然还涨了?
扫描到手机,新闻随时看
扫一扫,用手机看文章
更加方便分享给朋友
南山又有现房“返场”了!
日前,位于南头的弘基南城小筑在其官方公众号发布消息:31-55㎡1-2房现楼住宅销售。

随后,@搜狐焦点深圳 致电售楼处了解到,项目确实有现房预备入市,目前接受看房中,具体开盘时间还未定。
这是今年南山第2个“返场”销售的现房住宅。
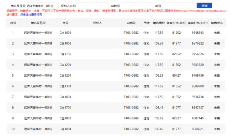
7月份,西丽的远洋天著曾推出308套现房住宅,并于7月30日线上开盘,但最终只有136批购房者冻资,网传去化率约25%。
而接下来,同样位于西丽的汇城茗院,也吹风将在8月底推出124套现房住宅。
南山现房住宅纷纷“返场”,但市场已经不是两三年前的市场,南城小筑、汇城茗院,能走出特立独行的行情吗?欢迎评论区留言!

2021年入市的南城小筑,不仅是妥妥的日光盘,还是积分盘。
项目住宅共108套,2021年共有87套房源获批预售并入市,最终成功冻资客户195批,最低入围积分为51分。
据深圳市房地产信息平台显示,这87套房源显示预售“已备案”,也就是说,即将要入市的现房是剩余的21套房源。

项目是独栋小体量住宅,整个小区设计为31-55㎡1-2房的纯小户型,此次推出的房源也是同样面积段的户型。

价格方面,2021年项目首次开盘均价约8万/平,而据@搜狐焦点深圳致电了解到,这一批房源的均价预计在8.5万/平左右,一次付款方可享受98折折扣,也就是说折前的价格,比2年前涨了近5千/平。
在当下市场普遍“降价”销售的行情下,它竟然还涨了,不得不说,是一个比较自信的楼盘啊!
目前这批现房已开放了售楼处,可以去现场看房,后续有统一的开盘时间,但具体未定。
南城小筑位于南头红花园社区,邻近深南大道、南山大道主干道,距离南头古城地铁站步行约500多米,整体的通勤交通还是非常便利。
但项目体量小,只有1栋,同时被英达钰龙苑、宏毕宛小区夹杂着,部分户型采光或受限制。

与南城小筑不同的是,西丽“返场”的两个现房都是纯大户型。
首先是上个月入市的远洋天著,当时推出了308套现房住宅,建面约99-106-118-121㎡,备案均价约8.38万/㎡。

这个价格与三年前开盘的均价是一样的,但取得的开盘成绩却大不相同。
2020年,远洋天著曾创下了两次开盘两次“日光”的好成绩,一次是9月,推出了571套房源;一次是在10月,推出了114套房源。
而这一次308套房源,却只有136批购房者冻资,网传开盘仅卖了78套,去化率约25%。
*本批房源所处楼栋位置
业内人士认为,价格虽然是三年前的价格,看着很实惠,但如今一二手房都在降价或打折卖,而且前海、宝中也有不少总价相似的竞品。
项目最大的亮点其实是它的品质,地段和周边环境还算一般,但当下买房人思考的因素太多,单凭品质,可能吸引力不够。
另外,也有买家指出,这批房源其实是众冠股份旗下的回迁房,众冠股份营销时间太紧,看房时间只有一周多,或也是导致开盘去化不足的原因之一。
而同样位于西丽的汇城茗院,则网传8月底或推出位于二栋二单元的,约124套116㎡3+1房户型。
汇城茗院由4栋高层(32层)住宅和12栋联排别墅组成,房源总套数380套。
项目曾于2021年10月开盘,当时推出了124套房源,成功冻资客户292批,最低入围积分55.8分。
最终历时近5小时后,112平和121平的房源全部售罄,只剩下最后15套195平的大户型没有卖出,开盘去化近九成。
而此次即将推出的也是3+1房的主力户型,按此前一期8.4万/平的参考价来算的话,预计总价在900万左右至1000万之间,具体以备案为准。
汇城茗院与远洋天著一样,部分高层住宅景观不错,可以看西丽湖景观;且2个项目都是近地铁物业,一个邻近西丽湖,一个则为大学城地铁上盖物业。
但二者也存在一定的劣势,汇城茗院周边大型生活配套较为缺乏,主要以临街商铺为主;而远洋天著旁边则还有部分城中村,短期内居住环境较难改善。
声明:本文由入驻焦点开放平台的作者撰写,除焦点官方账号外,观点仅代表作者本人,不代表焦点立场。


