华润城17套现房上桌了,时隔三年再卖价格还香吗?
扫描到手机,新闻随时看
扫一扫,用手机看文章
更加方便分享给朋友
深圳“网红神盘”再次杀回市场!
9月12日,华润置地深圳公司官方公众号发文,公开销售华润城润府三期、润玺一期、润玺二期17套现房住宅单位。
这批房源最小面积约120㎡,最大面积约250㎡,平层单位带装修交付,多层户型毛坯交付。
这是继2022年6月之后,华润城再次发售新房。据悉,这也是项目最后一批保留单位。

其实早在去年年初,就有传闻华润城这一批保留单位要卖,只不过最终拖了一年多才正式销售。
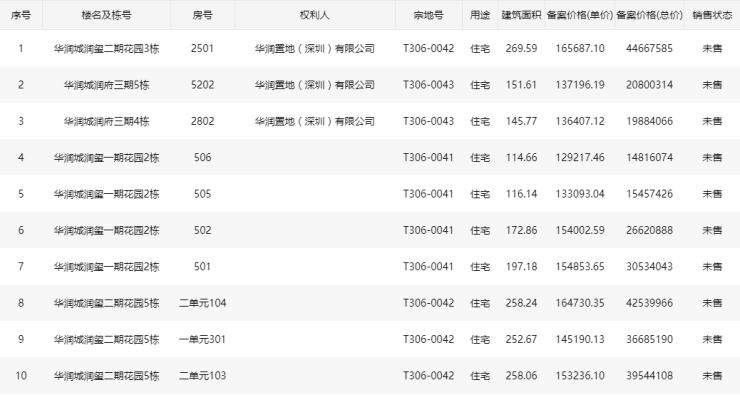
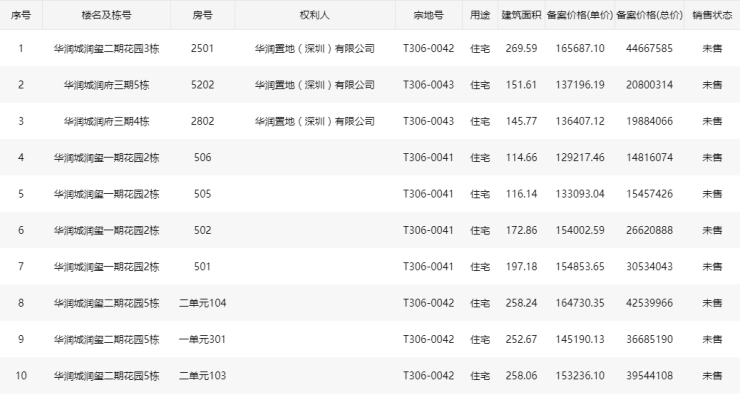
据了解,这一批17套房源,也是此前的样板房单位,所以分布较为零散,具体包括有:
润府三期(2套,平层单位):建面约150㎡,备案总价约1988-2080万/套。
润玺一期(4套,平层单位):建面约120㎡,备案总价约1482-1546万/套;建面约175㎡,备案总价约2662万/套;建面约200㎡,备案总价约3053万/套。
润玺二期(11套,含3套平层和8套多层):建面约120㎡,备案总价约1627万/套;建面约250㎡,备案总价约3523-4254万/套;建面约260-270㎡,备案总价约4169-4467万/套。


17套现房将于9月12-15日,在华润官方公众号进行线上意向登记及保证金冻结,冻资金额为50万元。
而看房则安排在了摇号之后,即9月17日,选房时间为9月19日。
看来要一睹“压箱底”神盘风采,得先“买票”才有入场资格了。
时隔三年,华润城再推新房,这一消息来的确实突然,且项目只给了4天意向登记时间,节奏非常紧凑。
目前项目最终销售价格还未流出,但从备案情况来看,整体价格都不低。
以润府三期为例,2018年入市的三期均价仅8.5万/㎡,如今两套高层单位备案价在13.6-13.7万/㎡之间,甚至还高于二手房指导价13.2万/㎡。
早期买入润府一手房源的业主可以说是赢麻了。
再来看看润玺,润玺一、二期的开盘均价都是13.2万/㎡,从备案情况来看,这一批房源中,仅1套约115㎡户型价格是低于13.2万/㎡,其余都是高于这个价格。
单从备案价格来看,开发商还是很“良心”了,至少没有背刺业主。
横向对比二手房来看,这批房源的价格还有没有那么香呢?
据第三方小程序@小鹿选房 统计,润府三期今年6月成交了一套151㎡的东南向高楼层单位,总价约2180万,单价约14.44万/㎡。
但5月成交的低楼层单位已经跌破13万,仅12.27万/㎡。
同样的,润玺一期、二期成交的低楼层单位,均价也不高。
其中一期价格还有13.19万/㎡,接近开盘单价;而距离商业、地铁等配套更远的二期,价格只有12.17万/㎡。


看来高低楼层的价差还是较为明显,此次推售的润府三期2套房源,均位于高楼层,对比低楼层的润玺一期、二期,后市价格或更坚挺一些。
目前看来,虽然备案的价格对比二手房几乎没有优势了,但毕竟作为深圳楼市的豪宅“风向标”,买家考量的可能也不仅仅是当前的获利,而是日后的保值属性。
据乐有家监测的数据显示,华润城近期成交均价稳定在13万/㎡左右,仅限于全市最高的深圳湾片区。
在市场的投票下,华润城依旧能打,最后预测这17套房源应该还是会吸引不少买家争抢,清盘是毫无悬念的。
声明:本文由入驻焦点开放平台的作者撰写,除焦点官方账号外,观点仅代表作者本人,不代表焦点立场。


