市民投诉遭深圳一楼盘持续高强度噪音侵扰!部门:已安排临时住宿
扫描到手机,新闻随时看
扫一扫,用手机看文章
更加方便分享给朋友
市民投诉
光明区润宏城润臻园项目
长期存在施工噪音扰民情况
近日,有深圳市民在人民网“领导留言板”留言反映,深圳市光明区润宏城润臻园项目正处于施工阶段,该工地持续长期于夜间及法定休息时段高强度施工作业,噪声值严重超过法定标准,周边居民长期受到高强度的噪声侵害。
官方回应
已采取三项整改措施
将加强常态化巡查监管
针对该市民所反映的情况,深圳市生态环境局光明管理局官方回复称,经核查,市民所反映的工地项目实为润臻园主体工程,位于光明区松白路与东明大道交汇处,建设单位为深圳市润宏房地产有限公司,施工单位为四川航天建筑工程有限公司,目前该项目处于主体施工阶段,已设置施工围挡、钢筋加工棚等降噪措施;该项目已于近期取得《深圳市光明区建设工程中午或者夜间施工作业证明》,施工作业时间为2025年7月6日23:00 7月8日7:00、7月9日23:00-7月11日7:00,并于6月27日在周边小区公告栏张贴公示,明确告知居民该项目施工时间、施工内容以及工地负责人联系电话。
经核查,市民反映的噪声为该项目开展混凝土浇筑作业所产生。针对该问题,光明生态局已采取三项措施:
☛一是开展约谈警示,督促问题整改。光明生态局先后16次约谈施工单位和建设单位负责人,要求施工单位严格落实“八个必须”噪声防控主体责任,优化调整噪声较大的施工作业时间,优先使用低噪声设备文明施工,在申请夜间施工作业时,务必提前公示施工计划,并做好隔音降噪措施等工作,避免噪声扰民;同时要求建设单位落实噪声管控监督责任,安排专人进行监督,确保隔声降噪措施落实到位。目前,施工单位已采取为泵车加设隔声降噪棚、采用低频振捣棒降低混凝土振捣音量等措施,有效降低施工噪声。
☛ 二是加强执法监管,严控超时施工。针对该项目超时施工行为,光明生态局加大执法打击力度,组织人员开展现场检查29次,已对发现的超时施工违法行为立案处罚4宗;同时,在该项目安装了远程监控设备进行实时监管,一旦发现该项目存在施工噪声扰民或超时施工问题,可通过远程喊停设备“即发现即叫停”,目前已通过线上喊停施工38次,有效降低施工噪声对周边居民的影响。
☛ 三是积极沟通协调,争取理解和支持。为做好沟通解释工作,光明生态局已督促该项目建立常态化沟通机制,通过微信沟通平台、小区物业等渠道,及时向居民公示工程进度及夜间施工安排等信息,明确告知居民法定施工时间为7:00-12:00、14:00-23:00。目前,该项目已协调附近酒店,为受施工噪声影响较大的居民提供临时住宿。
光明生态局称,下一步,将持续跟进该项目施工进度,加强常态化巡查监管,督促其严格落实隔声降噪措施,依法查处环境违法行为。
项目
主体工程今年开工
已获得售房许可

图源:网络
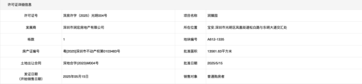
公开资料显示,润宏城润臻园位于东明大道和松白路西北侧,规划建筑面积约29万㎡,由7栋高层住宅围合组成。该项目由华润置地与宏发集团联合开发,主体开工时间为2025年2月,合同竣工日期为2027年11月30日。住建局公开信息显示,该项目目前已获得售房许可(深房许字(2025)光明004号),开始销售日期为2025年05月15日。

图源:深圳市住房和建设局
来源:奥一新闻
声明:本文由入驻焦点开放平台的作者撰写,除焦点官方账号外,观点仅代表作者本人,不代表焦点立场。


