2.4亿,超2万人围观!和姚振华有关
扫描到手机,新闻随时看
扫一扫,用手机看文章
更加方便分享给朋友
12月6日至12月7日,宝能系持有的韶能股份(000601)4.39%股份在淘宝网阿里资产司法拍卖页面进行公开拍卖。上述股份由该司宝能系股东深圳华利通投资有限公司(以下简称“华利通”)所持有,为约4742.98万股公司非限售流通股。
截至12月7日上午10点37分,用户姓名“深圳保泰鸿华投资有限公司”(以下简称“保泰鸿华”)通过竞买号V0558以最高应价约2.4亿元胜出,该价格较起拍价溢价62%。值得注意的是,本次司法拍卖正是由保泰鸿华申请执行,申请原因与该司同华利通等存在的企业合同纠纷案有关。
待上述股份顺利过户后,姚振华实控的华利通所持韶能股份将降至2.45%。

溢价62%也要拿下
“申请执行人”保泰鸿华志在必得
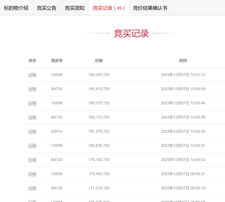
拍卖页面显示,上述韶能股份股票的最终评估价格约为1.88亿元,而起拍价为拍卖日前20个交易日的收盘平均价乘以股票总数的7折,约为1.48亿元。
本应于12月7日上午10点结束的法拍,却因设置了延时出价功能,最终于上午10点37分结束。据介绍,延时出价功能,即在拍卖活动结束前五分钟内无人出价的,最后出价即为成交价;有出价的,竞价时间自该出价时点顺延五分钟。
截至当日上午10点37分法拍结果出炉,共计延时了34次,这场角逐激烈的拍卖吸引了超2.2万人围观,265人设置提示,最终有7人报名,4人参与出价。

南都·湾财社记者留意到,45轮竞价中,保泰鸿华表现得十分积极,尤其在延时环节,每当其他竞价人加价,保泰鸿华几乎只用数秒时间迅速加码,最终以约2.4亿元的价格将上述股份收入囊中。该成交价格较起拍价溢价高达62%,折算下来每股约5.07元,较12月7日收盘价4.47元/股还高出13.4%。
值得注意的是,本次华利通所持股票被司法拍卖,正是由保泰鸿华向法院申请执行,与双方存在的企业合同纠纷案有关。天眼查显示,保泰鸿华成立于2022年,是深圳市保国置业集团成员,该司去年6月曾向深圳中院申请强制执行,被执行人包括宝能系中山润田投资有限公司、华利通,以及深圳吉祥服务集团有限公司,执行标的金额超13亿元。
如今,保泰鸿华以高于市场价13%的价格拍下华利通所持的韶能股份股票,操作令人费解。
香颂资本董事沈萌对此向南都·湾财社记者分析表示,“从竞拍过程中,不难看出保泰鸿华的决心,在加价时并没有任何讨论或延迟,说明这些加价可能都在其预期之内。”沈萌认为,虽然竞拍结果高于市场价,但当前市场也处于一个较低的位置,相对持股风险有限。
至于申请执行人购入被执行人资产,这在沈萌看来“应该说并不鲜见”。“对于债权人来说,申请执行流动性更好的资产并持有抵债,自己的风险最低。”沈萌指出。
为了解保泰鸿华购入韶能股份股票的真实意图,12月7日,南都·湾财社记者尝试与保泰鸿华取得联系。湾财社记者从公开信息中留意到,保泰鸿华与其两层股权穿透股东“深圳保泰鸿华实业有限公司”“深圳市保国置业集团有限公司”共享同一地址,但湾财社记者拨打相关公开电话,却始终无人接听。
持股将降至不足3%
宝能系快要退出韶能股份了?
据南都·湾财社记者梳理,华利通于韶能股份历史最高持股一度达19.95%。但在2022年5月、8月,华利通所持1.42亿股(总股本的13.11%)先后两度被司法拍卖。
其中,第一次被深圳方富实业有限公司以13.05亿元竞得,不过由于方富实业未交纳剩余拍卖价款,此次拍卖未能成交;第二次被深圳智茂商业管理有限公司(以下简称“智茂商业”)以10.01亿元的价格成交。此后,华利通持股数量由19.95%降至6.84%。
伴随着本次法拍成交结果出炉,宝能系于韶能股份的持股将在相关股票过户后进一步降至2.45%。
值得注意的是,坊间曾一度怀疑智茂商业为宝能系的“壳”,若真实如此,宝能系持股实际将超过15%。据第一财经报道,该媒体通过公开渠道查询发现,智茂商业当时的实际控制人廖南钢及其控制的香港上市公司以及内地的建筑工程公司,均与宝能系相关联。
不过,在韶能股份日前回应深交所《关注函》的公告中,华利通曾表示,“深圳智茂与华利通不存在关联关系、一致行动关系或者利益倾斜特定关系。”也就是说,2.45%持股是宝能系目前于韶能股份明面上的所有股权。
但不可否认的是,目前留给姚振华的上市资产已所剩无几,今年7月底宝能系败走中炬高新(600872)董事会足以反映出姚振华当前的困顿。香颂资本董事沈萌曾对湾财社记者指出,对于宝能这样严重依赖资金流的企业来说,有较好现金流、较低融资成本的上市公司是一个可以运作资本的工具,可以用于腾挪资金、保证流动性。那么这次法拍中,宝能系是否也有所行动?
南都·湾财社记者留意到,本次法拍的竞买须知显示,“与本标的物有利害关系的当事人可参加竞拍”,也就是说,宝能系仍有权参与竞买。目前,仅有成功竞买的保泰鸿华亮明身份信息,其余3位参与喊价的竞买人身份未知。
12月7日,韶能股份董秘办工作人员(非董秘本人)通过电话向南都·湾财社记者表示,“内部也不清楚具体哪几个单位参与到这些事情中”,提到宝能系是否会参与竞买,该工作人员则表示“不好揣测”。
南方都市报(nddaily)、N视频报道
声明:本文由入驻焦点开放平台的作者撰写,除焦点官方账号外,观点仅代表作者本人,不代表焦点立场。


