6月,深圳大批有钱人要进场买房了
扫描到手机,新闻随时看
扫一扫,用手机看文章
更加方便分享给朋友
深圳楼市5月成绩单出炉,共卖出7849套住宅
看到成绩,有一个坏消息,有一个好消息。
坏消息是,数据环比呈现下滑趋势,环比下降了16.7%。
好消息是,同比来看成交量仍处于高位,增长了21.1%。

先来看看新房数据。
新房成交量主要依赖于当月的供应情况。据乐有家研究中心数据,深圳5月新房住宅预售网签2054套,现售网签1108套,预售+现售共成交3162套住宅。环比4月下降14.4%,同比则增长25.6%。

自3月“小阳春”以来,新房成交量连续两个月下滑。
细分到各区域,龙华、龙岗、宝安仍是预售新房成交主力,其中,龙岗、龙华的成交量虽然环比有下滑,但减少量并不多,远低于全市的平均水平。

新房成交量直接影响预售住宅的去化周期。
截至5月底,深圳一手预售住宅库存量为26343套,相较4月底减少1719套。随着成交量放缓,去化周期也随之徘徊回调。以近一年的月均去化来计算,去化周期约7.9个月,以半年的去化速度来看,去化周期约7.5个月。
当然,这统计的仅为预售新房的去化周期,如果加上转现售的新房,去化周期将还要拉长。

再来看看二手房方面。
5月,深圳二手房住宅共成交4687套,环比减少18.2%,同比增长18.3%。
据房地产中介协会数据,5月深圳二手房录得量5727套,环比减少13.2%,同比增长17.6。虽然数据有波动,但仍在5000套的荣枯线之上。

5月的房价,也没能“止跌”。
据统计,5月深圳二手房成交价坚守6字头大关,为6.12万/㎡,环比下降2.9%。

而价格波动的原因或许是低总价刚需盘成交占比提升。
据统计,5月深圳300万以下的刚需住宅成交占比达24%,环比增长2.4%;总价约800-1000万的改善性房源成交占比有所提升,但占比基数较小,仅有8.2%。


“五一”黄金周过,深圳新盘供应明显放缓。
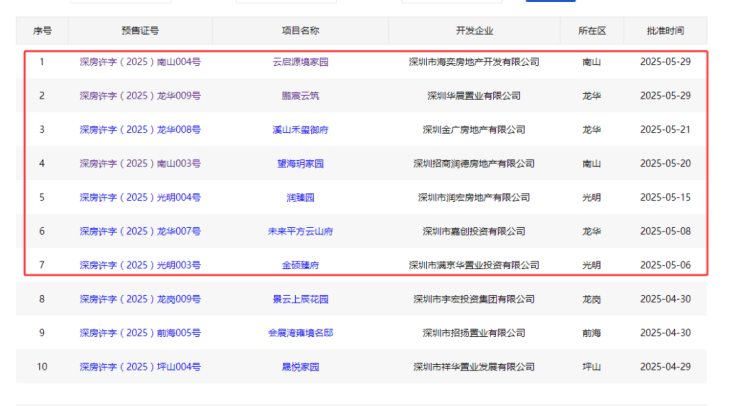
据深圳房地产信息平台显,5月深圳共放出6张商品房住宅的预售许可证,其中,5月29日的两张将于6月初入市(下文)。实际已经推出的4个项目均已刚需产品为主,溪山禾玺御府更是286万起便可一步到位入手三房。

6月,深圳新房市场会不会有新的机遇呢?
据@搜狐焦点深圳 不完全统计,深圳6月有13个新盘项目计划入市,这些项目主要以改善产品为主。
其中,南山(含前海)共有5个项目、龙华有4大新盘,两区成为6月新房的供应主场。
新房市场也即将迎来开场秀,源启云境、鹏宸云筑两大项目将于6月7日正式开盘。中海源启云境凭借南山近科技园的位置、新规户型、书包房等优势备受市场关注;鹏宸云筑本批则是拿出了压轴的“楼王”,加推项目的王牌81㎡3房户型。【详情:深圳2大新规热盘取证!南山3房总价701万起】
接下来,前海的前海时代尊府、自贸湾啟紫荆府及南山科技园稀缺住宅翰熙典居即将登场,优质地段的改善住房上新,预计房价10万+/㎡。
除了市区,近郊板块宝安新安、龙岗坂田也有新盘计划在6月推出。
其中,珺悦名都临近地铁5/12号线,两站可到宝安中心,更能快捷通达前海、南山中心等核心板块,地理位置优越;信义君御山汇珑花园为准现房产品,所见即所得,产品以改善型3房为主。
看来,6月一大波有钱人要进场买房了!
你最看好哪个项目?欢迎评论留言。
成交数据来源:乐有家研究中心
声明:本文由入驻焦点开放平台的作者撰写,除焦点官方账号外,观点仅代表作者本人,不代表焦点立场。


