备案价不到周边商品房价的4折?深圳安居房“杀疯”了
扫描到手机,新闻随时看
扫一扫,用手机看文章
更加方便分享给朋友
11月14日,深圳房地产信息平台公示了龙岗百鸽笼片区的纯安居房项目-云禧公馆的预售证,项目将配售954套住宅房源,主推户型为建面约69-89㎡2-3房,备案均价2.87万/㎡。

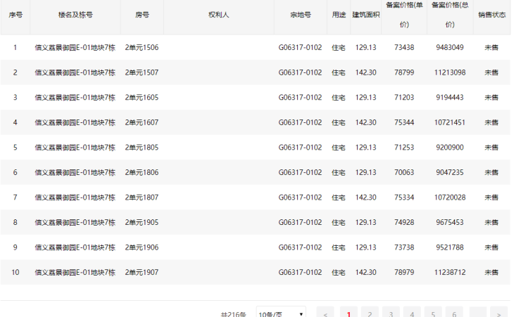
这个价格有多香?9月份同片区内的商品房项目-信义荔景御园E-01地块推出7栋准现房产品,备案价约7.4万/㎡,综合算下来云禧公馆的价格相当于周边商品房价格的4折都不到!(周边还有多个新盘待入市)

价格优势+优越地段,云禧公馆作为今年热门的安居房项目之一,受到的关注较高项目在取得预售证后也第一时间发布了海报,称项目申购在即。

@搜狐焦点深圳 第一时间拨打项目咨询电话了解,现场工作人员表示现在暂时不接受看房,关于项目信息除了海报上公示的内容外其他信息暂无可奉告,需等深圳住建局发布配售公告官方详情公告。

云禧公馆位于京南路与翔鸽路交汇处西南侧,处于万科红悦北侧,地铁5号线百鸽笼站的A出口(地图直线测距约450米),周边有工业园和成熟小区,属于百鸽笼商圈内。

云禧公馆总用地面积1.3万㎡,总建面约10.7万㎡,容积率约6.52,规划为1栋两单元超高层楼体,其中1栋一单元48层,1栋二单元47层,配建有建面约1800㎡的幼儿园、1500㎡的商业及相关社区配套。规划停车位825辆。

云禧公馆效果图如下:

据悉,云禧公馆的954套房源中,有692套建面约69㎡的两房,262套建面约89㎡三房,两房产品为主力。@武神安居 公众号发布了项目的户型平面图及户型图。
从项目的楼层平面图来看,建面约89㎡的三房产品主要位于1栋一单元及二单元的端头位置。
【查看楼栋日照模拟】

户型图如下:
建面约69㎡两房两厅一卫
建面约89㎡的三房两厅一卫。
配套上,云禧公馆处于百鸽笼成熟居住商圈,周边地铁、商业、公园及相关市政配套都很完善,并且距离市区罗湖、福田也很近。
地铁方面,云禧公馆距离地铁5号线百鸽笼地铁口A口约480米(地图测距),经地铁一站到布吉站可换乘3/14号线快捷通往罗湖、福田、南山。此外还有规划在动工的地铁17号线一期在百鸽笼与5号线接驳,未来也是双地铁物业。
商业方面,项目临近万科红商业广场,周边还有华润万象汇、信义商业街、沃尔玛等配套,商业氛围相对浓厚,购物休闲较为便利。
教育资源方面,云禧公馆周边有百外世纪小学、贤义外国语学校、信义实验小学、布吉中学、百合外国语学校等学校。
据悉,项目周边规划有一所九年一贯制学校,规划为72班,拟提供3362个学位,预计2026年7月竣工。(具体入学以当年区教育公示为准)

图|源于网络

11月,深圳住建局公示了多个安居房的配售、选房公告。
其中,刚结束线上申购的帆湾海寓(第二批次)、东岸雅居、超核紫芸府三个项目,合计配售1790套(两房1307套,三房483套);已经结束选房的安居梓和苑(第一批次)、美盛岭尚苑、云海臻府三个项目,合计配售1497套房源(两房1013套,三房484套)。

接下来,还有哪个安居房项目待配售呢?据不完全整理,后续预计还有近30个项目待推出(具体以深圳住建局最新公示为准)。

除了云禧公馆外,位于宝安宝中的瑞景湾居、翻身的邻里间家园,位于深圳北的深北家园、位于光明凤凰城的深房光明里等项目也是现阶段关注度较高的项目。
宝中的瑞璟湾居,是纯安居型商品房社区,规划400套房源,预计两房268套,三房132套左右。周边有新安中学、图书馆等配套,距离11号线宝安站大概1公里左右距离(百度地图测距)。
翻身的邻里间家园,是宝安首个商改保项目,1公里范围内地铁站点有1号线新安站、5号线翻身站,周边商业配套丰富,有海雅缤纷城、宝安壹方城等。
位于龙华的深北家园,与中海学仕里一路之隔,根据建设工程规划,属于纯安居房楼盘,自带幼儿园,一共704套安居房,其中3房256套,2房448套。
位于凤凰城的深房光明里,其商品房在开盘当天便“日光”成为佳话,它背靠着新城公园,周边有光明文化艺术中心、龙光蓝鲸世界、万达广场等配套。
你最期待哪个安居房项目?欢迎评论区留言~
声明:本文由入驻焦点开放平台的作者撰写,除焦点官方账号外,观点仅代表作者本人,不代表焦点立场。


