约2.15万/㎡起!深圳新政后首个获预售新盘来了
扫描到手机,新闻随时看
扫一扫,用手机看文章
更加方便分享给朋友
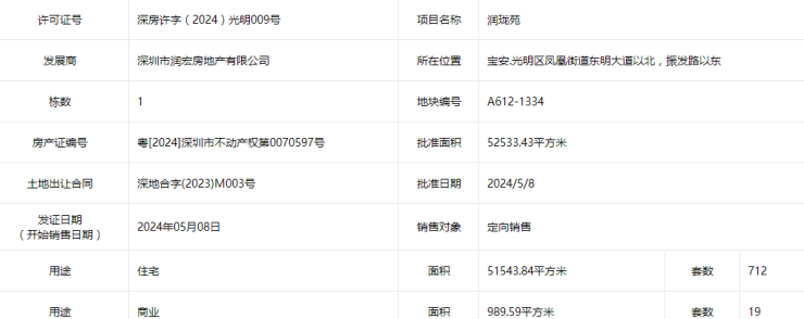
深圳5月新政后首个获批预售许可证的项目来了--位于光明的可售型人才房润珑苑3栋新品房源取证。

润珑苑本批将配售的房源位于3栋A/B座,共712套房源,主推户型为建面约69.5-89.5㎡的2-3房产品,其中2房625套,3房87套,据悉项目备案单价约2.15-2.63万/㎡,上一批房源的配售均价约2.43万/㎡可做参考,本批具体配售均价需等区住建局相关配售公告展示。
据网传,相关户型价格如下:
图|源于网络

润珑苑上一批房源于4月底选完房,当时推出4栋的673套房源,主力户型也是2房产品,整体去化约9成,取得不错的开端。据官方公示的选房最终结果来看,三房全部选完,两房房源剩余66套。
润珑苑可谓是趁热打铁,迅速推出第二批房源,接下来润珑苑还有1栋、2栋、5栋、6栋房源待配售1320套房源,项目整体以2房房源为主。

图|源于网络
深圳购买可售型人才房的条件如下:

扫码添加拼拼妹
获取润珑苑一房一价文档
01
润珑苑规划2705户人才房
润珑苑位于光明区凤凰街道东明大道以北,振发路以临近在建地铁13号线月亮路站。
图|润珑苑的区位
润珑苑占地面积3.47万㎡,总建筑面积32.83万㎡,其中,可售型人才住房建面约20.45万㎡,共规划2705户。另容积率6.5,规划机动停车位2810个。
润珑苑共规划8栋住宅楼及1栋12班幼儿园,主推户型为建面约65-90㎡的2-3房,建面约65-70㎡共1906户、85-90㎡共799套。首批推出房源为4栋A、B座,前期网传的3栋未在本次配售中。

图|润珑苑的效果图
润珑苑设计为围合式小区,小区规模尚可,整体而言舒适较高,根据公示的项目规划,小区除了5栋、6栋为四梯七户外,其余楼栋均为四梯八户。
户型图如下,可看到户型设计上“重用”了飘窗,一定程度上保证了户型的采光通透性和户型的实际使用空间。
★建筑面积约89㎡ 三房两厅两卫
★建筑面积约69㎡ 两房两厅一卫
02
周边规划多公园环绕,配套需等自身建设
润珑苑周边目前多在施工建设,短期内城市面貌较差,未来生活配套等也得依托润宏城的全面建设。不过这座建筑面积约320万㎡超大体量社区的建设周期需要一定年限。
商业方面:润宏城项目规划约6万㎡商业,规划涵盖社区特色商业街区、公园潮流街区等特色景观商业,建成后将带来以街区+公园及地铁为一体无边界一站式购物体验。
交通方面:项目邻近13号线,未来建成后全期建成后,南接香港、北连东莞,串联光明科学城、南山、科技园、东莞松山湖、深圳湾总部基地等科创总部集群;此外经地铁13号线可换乘地铁6号线,快速通达深圳北站、福田CBD。
片区内还有万达广场、大仟里、N次方公园等商业综合体。
教育资源:润宏城规划有7大幼儿园、3大九年一贯制学校。其中,润珑苑小区配建有12班幼儿园,在项目北侧就规划有一所九年一贯制学校。(具体入学以当年区教育局公示为准)
生态资源:项目内部规划约62公顷主题公园及车辆段上盖公园,构建湖泊、湿地、花卉、文体4大主题场景;周边规划有明湖城市公园、鹅颈水湿地公园、茅洲河水岸公园等。
*润宏城效果图
综合而言,作为润宏城作为地标性大盘,根据现有规划,未来建成后宜居性较强,且可售型人才房在价格上较商品房有一定的优势,具有一定的性价比。不过项目施工周期较长,也具有一定不确定风险。
截至发稿,光明住建局尚未公示润珑苑的配售公告,预计近期即将发车,在上一批中没选上合适房源的人才们这批可以继续搏一搏了。
这批房源能否延续上一批的热销呢,欢迎评论留言~
声明:本文由入驻焦点开放平台的作者撰写,除焦点官方账号外,观点仅代表作者本人,不代表焦点立场。


