两房首付约44万起!光明润珑苑646套人才房均价约2.38万/㎡
扫描到手机,新闻随时看
扫一扫,用手机看文章
更加方便分享给朋友
光明可售型人才房润珑苑首批房源获批预售证,预计将于近期配售。
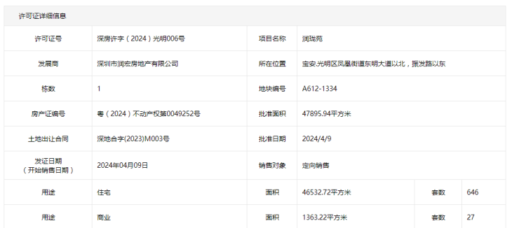
4月9日,深圳房地产信息平台公示润珑苑预售许可证,项目首批推出646套房源,房源位于4栋。据悉,本批将配售81套建面约89㎡的三房、565套建面约69㎡的两房,整体备案均价23810.55元/平(含简装)。
其中,三房均价24668元/㎡,总价约198万起;两房均价23653元/㎡起,总价约147万起。

润珑苑的配售价,是光明推出的可售型人才房项目中价格最低的项目,对比下来,相当惊喜。
润珑苑在配售之前就有释放价格有惊喜,润珑苑作为光明旧改“巨子”润宏城的一部分,润宏城的商品房备案价在4.45万/㎡,按这个折算价来算,润珑苑的配售价约在2.6万/㎡左右。不过,如果按商品房的开盘折后价格来测算,就差不多了。
近两年,光明已经推出了8个人才房项目,算上润珑苑共配售将近5600套房源。润珑苑的配售均价整体比其他项目便宜近3000-6000元/㎡不等。看来,可售型人才房房价也难免遭“背刺”。
准备上车光明可售型人才房的人才们可多加对比,下面来了解一下润珑苑的基本详情。
01
润珑苑规划2705户人才房
润珑苑位于光明区凤凰街道东明大道以北,振发路以临近在建地铁13号线月亮路站。
图|润珑苑的区位
润珑苑占地面积3.47万㎡,总建筑面积32.83万㎡,其中,可售型人才住房建面约20.45万㎡,共规划2705户。另容积率6.5,规划机动停车位2810个。
润珑苑共规划8栋住宅楼及1栋12班幼儿园,主推户型为建面约65-90㎡的2-3房,建面约65-70㎡共1906户、85-90㎡共799套。首批推出房源为4栋A、B座,前期网传的3栋未在本次配售中。

图|润珑苑的效果图
润珑苑设计为围合式小区,小区规模尚可,整体而言舒适较高,根据公示的项目规划,小区除了5栋、6栋为四梯七户外,其余楼栋均为四梯八户。
户型图如下,可看到户型设计上“重用”了飘窗,一定程度上保证了户型的采光通透性和户型的实际使用空间。
★建筑面积约89㎡ 三房两厅两卫
★建筑面积约69㎡ 两房两厅一卫
02
周边规划多公园环绕,配套需等自身建设
润珑苑周边目前多在施工建设,短期内城市面貌较差,未来生活配套等也得依托润宏城的全面建设。不过这座建筑面积约320万㎡超大体量社区的建设周期需要一定年限。
商业方面:润宏城项目规划约6万㎡商业,规划涵盖社区特色商业街区、公园潮流街区等特色景观商业,建成后将带来以街区+公园及地铁为一体无边界一站式购物体验。
交通方面:项目邻近13号线,未来建成后全期建成后,南接香港、北连东莞,串联光明科学城、南山、科技园、东莞松山湖、深圳湾总部基地等科创总部集群;此外经地铁13号线可换乘地铁6号线,快速通达深圳北站、福田CBD。
片区内还有万达广场、大仟里、N次方公园等商业综合体。
教育方面:润宏城规划有7大幼儿园、3大九年一贯制学校。其中,润珑苑小区配建有12班幼儿园,在项目北侧就规划有一所九年一贯制学校。(具体入学以当年区教育局公示为准)
生态资源:项目内部规划约62公顷主题公园及车辆段上盖公园,构建湖泊、湿地、花卉、文体4大主题场景;周边规划有明湖城市公园、鹅颈水湿地公园、茅洲河水岸公园等。
*润宏城效果图
综合而言,作为润宏城作为地标性大盘,根据现有规划,未来建成后宜居性较强,且可售型人才房在价格上较商品房有一定的优势,具有一定的性价比。不过项目施工周期较长,也具有一定不确定风险。
另外,4月首批人才房线上认购倒计时中~
声明:本文由入驻焦点开放平台的作者撰写,除焦点官方账号外,观点仅代表作者本人,不代表焦点立场。


